不锈钢水泵控制阀
不锈钢水泵控制阀消除水锤效果好。将缓开、速闭、缓闭消除水锤的技术原理-体化.防止开泵水锤和停泵水锤的产生。操作方便。只需操作水泵电机启闭按扭,阀门即按照水泵操作规程实现自动开闭。
不锈钢水泵控制阀产品概述
不锈钢水泵控制阀由主阀和调节阀及接管系统组成,阀体采用直流式阀体,主阀控制室为膜片式或活塞式的双控制室结构,控制室比一般水力控制阀增加了一个,增加了对主阀的控制功能,实现了对水泵出口的缓慢开启、全开、缓闭、截止等多功能控制,实现了一个阀门、一次调节对水泵出口的多功能控制。JD745X多功能水泵控制阀的接管系统采用调节阀控制,通过设定调节阀的开度,可方便实现需要的各项控制参数,如主阀的开启速度、缓闭速度等等。
不锈钢水泵控制阀产品用途
安装在高层建筑给水系统以及其它给水系统的水泵出口管道上.防止介质倒流,防止水锤及水击现象的产生。阀兼具电动阀,逆止阀和水锤消除器三种功能.可有效地提高供水系统的安全可靠性。
不锈钢水泵控制阀产品特点
消除水锤效果好。将缓开、速闭、缓闭消除水锤的技术原理-体化.防止开泵水锤和停泵水锤的产生。操作方便。只需操作水泵电机启闭按扭,阀门即按照水泵操作规程实现自动开闭。 节能效果好。阀体采用了全通道流线型直流式设计,压力损失小,流量大,且体积小,重量轻
水泵控制阀型号:JD745X | 水泵控制阀公称通径:50MM-1200MM | 水泵控制阀使用压力:1.6MPA -6.4MPA |
水泵控制阀连接方式:法兰连接 | 水泵控制阀形式:弹簧式 自动 | 水泵控制阀主要功能:防止倒流 水锤 |
水泵控制阀介质:水工业管道 | 水泵控制阀材质:铸铁 球墨铸铁 铸钢 | 水泵控制阀标准:机械部标准或定做非标 |
不锈钢水泵控制阀技术参数
公称压力:1.0MPa、1.6MPa、2.5MPa
最低动作压力:≥O.04MPa
缓闭时间:3~60s(可调)
适用介质:水
介质温度:O~80"C
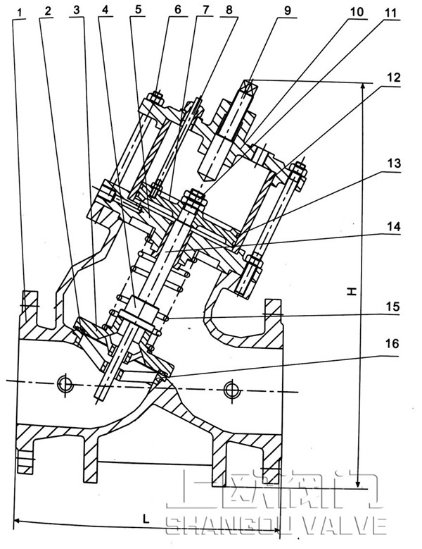
安装示意图


主要结构尺寸
DN | L | H | D | D1 | n-d | ||||||
1.0MPa | 1.6MPo | 2.5MPa | 1.0MPa | 1.6MPa | 2 5MPa | 1.0MPa | 1.6MPa | 2.5MPa | |||
50 | 205 | 293 | 165 | 165 | 165 | 125 | 125 | 125 | 4-18 | 4-18 | 4-18 |
65 | 216 | 328 | 185 | 185 | 185 | 145 | 145 | 145 | 4-18 | 4-18 | 8-18 |
80 | 250 | 364 | 200 | 200 | 200 | 160 | 160 | 160 | 8-18 | 8-18 | 8-18 |
100 | 320 | 418 | 220 | 220 | 235 | 180 | 180 | 190 | 8-18 | 8-18 | 8-22 |
125 | 365 | 481 | 250 | 250 | 270 | 210 | 210 | 220 | 8-18 | 8-18 | 8-22 |
150 | 415 | 543 | 285 | 285 | 300 | 240 | 240 | 250 | 8-22 | 8-22 | 8-26 |
200 | 500 | 673 | 340 | 340 | 360 | 295 | 295 | 310 | 8-22 | 12-22 | 8-26 |
250 | 605 | 792 | 395 | 405 | 425 | 350 | 355 | 370 | 12-22 | 12-26 | 12-26 |
300 | 698 | 927 | 445 | 460 | 485 | 400 | 410 | 430 | 12-22 | 12-26 | 12-30 |
350 | 787 | 957 | 505 | 520 | 555 | 460 | 470 | 490 | 16-22 | 16-26 | 16-30 |
400 | 914 | 1188 | 565 | 580 | 620 | 515 | 525 | 550 | 16-26 | 16-30 | 16-33 |
450 | 978 | 1218 | 615 | 640 | 670 | 565 | 585 | 600 | 20-26 | 20-30 | 16-36 |
500 | 978 | 1256 | 670 | 715 | 730 | 620 | 650 | 660 | 20-26 | 20-33 | 20-36 |
600 | 1200 | 1600 | 780 | 840 | 725 | 770 | 20-30 | 20-36 | 20-36 | ||
700 | 1450 | 1750 | 895 | 910 | 840 | 840 | 24-30 | 24-36 | |||
800 | 1560 | 1900 | 1015 | 1025 | 950 | 950 | 24-33 | 24-39 | |||
900 | 1800 | 2100 | 1115 | 1050 | 28-33 | ||||||
1000 | 2000 | 2400 | 1230 | 1160 | 28-36 | ||||||
相关新闻
|
||||||||||||||||||||||||
![]() |
||||||||||||||||||||||||
| ||||||||||||||||||||||||









